江蘇蘇創管業科技有限公司
電話:400-799-0068
傳真:0523-88113916
郵箱:sales@sckj99.com
地 址:泰州市姜堰區婁莊鎮工業集中區

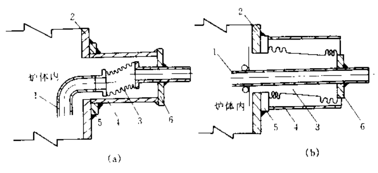
為降低爐體溫度,在爐殼內側安裝水冷卻壁。因為爐體和冷卻系統間存在溫差,產生軸向相對熱位移,這可利用波紋管的橫向變形來吸收,保護冷卻水管不被剪斷,這種波紋管直徑雖不大,但是高爐用量最多的部件。
波紋管與爐體及冷卻水管的連接有兩種典到結構(見圖11-4),一種為爐體(2)與護罩(4)為剛性連接的情況,而在冷卻水管上連接一單式膨脹節,常用于空間位置較小的中小型高爐的冷卻壁,公稱直徑為DN25~65mm橫向補償量不大的場合(見圖11-4(a));另一種使膨脹節一端與爐體(通過補強圈5)連接,另一端通過端板(6)與冷卻水管相連,這種膨脹節通常為復式膨脹節,常用于空間位置較大的大、中型高爐,橫向位移補償量較大(10~20mm)的場合,公稱直徑為DN80~200mm。
上圖冷卻系統用膨脹節示意1-冷卻水管;2-爐體;3-波形膨帳節;4-護罩;5-補強圈;6-端板



江蘇蘇創管業科技有限公司
銷售中心:400-799-0068
24h熱線:13814488916
電 話:0523-88113318
傳 真:0523-88113916
E—mail:sales@sckj99.com
廠區地址:江蘇省泰州市姜堰區婁莊工業集中區
高爐冷卻壁膨脹節
* 表示必填
采購:焊接活接頭軟管
| * 聯系人: | 請填寫您的真實姓名 |
| * 手機號碼: | 請填寫您的聯系電話 |
| 電子郵件: | |
| * 采購意向描述: | |
| 請填寫采購的產品數量和產品描述,方便我們進行統一備貨。 | |
